各位化工人需提高警惕!
上游已經崩潰了,還要熬多久(jiu)?
據海報新聞,6月8日上午,上海市青浦區一企業裝置區域發生爆燃起火。
據附近市民(min)介(jie)紹,當時(shi)看到北青公路上一(yi)家單(dan)位內的裝置部(bu)位不(bu)斷有黑(hei)煙冒出。還有其(qi)他(ta)市民(min)稱,在幾百米外就看到了黑煙。事發(fa)后,數輛消(xiao)防(fang)(fang)車到場,消(xiao)防(fang)(fang)隊員進入事發(fa)單位開展滅(mie)火(huo)救(jiu)援工作。

6月8日,@上海消防(fang)微博發布情(qing)況通報:6月8日8點16分,青(qing)浦區(qu)北青(qing)公路8205號一企業(ye)裝(zhuang)置(zhi)區(qu)域(yu)發生爆燃(ran)起火(huo),市119指揮中(zhong)心接(jie)警后,立即調(diao)派消防(fang)救(jiu)援(yuan)力量趕赴現場(chang)處置(zhi)。目前,現場(chang)明火(huo)已被撲滅(mie),事故造成一人死亡,一人受傷送醫治療。

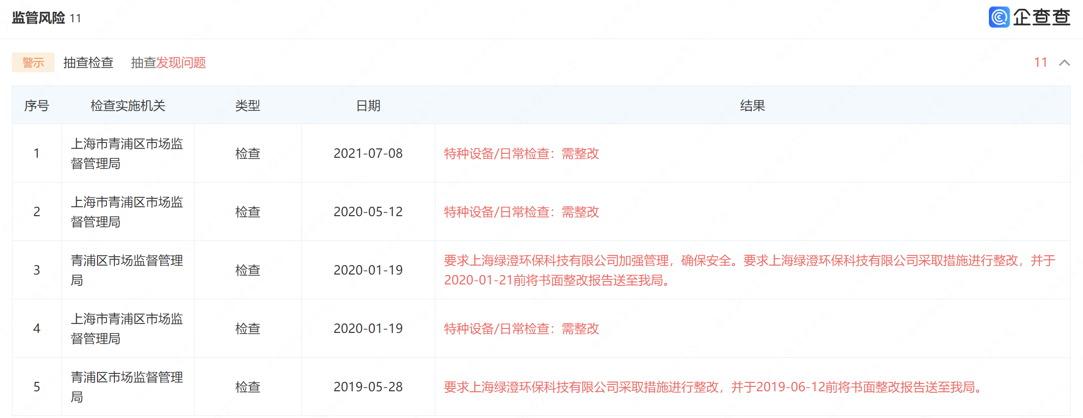
據政(zheng)務(wu):上海應(ying)急(ji)守(shou)護5月(yue)30日(ri)發布,按照《上海市應(ying)急(ji)管理局2023年度安全生產(chan)執(zhi)法(fa)計劃》,結合危險(xian)化學品企(qi)業裝置設備帶“病”運行安全等10個專項整(zheng)治(zhi)和重大危險(xian)源(yuan)年度第一次督(du)導檢查,本市市區兩級應急管理部門2023年6月計劃執法檢查各類生產經營單位539家。 這其中就包含上海綠澄環保科技有限公司。
5月,國內環氧樹脂價格繼續震蕩下行,步入(ru)6月(yue),環氧(yang)樹(shu)脂(zhi)價格依然(ran)不(bu)改頹勢(shi),價格已經(jing)跌破13400元/噸(dun),累計下跌價格已達1400元/噸,部分地區甚至跌破13000元/噸,預計后續環氧(yang)樹脂價格下行概(gai)率依然較大。 雙酚A:產能瘋(feng)狂(kuang)釋放(fang),跌幅近(jin)10%! 5月以來,雙酚(fen)A價(jia)格持(chi)續下跌,近日已經跌破9000元關口!今年以來雙酚(fen)A產能瘋狂釋放,受此影響,國內雙酚A年總產能達到426.5萬噸,平均單月產量在28.8萬噸,創歷史新高,價格也下行不止,近一月內雙酚A價格已跌破9000關口,跌幅超10%。


目前(qian),國(guo)內輕(qing)質(zhi)堿(jian)主流(liu)價格在2100-2200元/噸,重質(zhi)堿(jian)報價在2400-2500元/噸。當前(qian),純(chun)堿(jian)裝置(zhi)運行穩定,暫無新(xin)增(zeng)檢修消(xiao)息(xi),企業庫存有所(suo)緩和;下游需求面表現趨弱(ruo)采買(mai)。純(chun)堿(jian)廠家交付訂單尚可,純(chun)堿(jian)市場弱(ruo)勢延續。 正丁(ding)醇:累計跌價(jia)1500元/噸! 自5月(yue)以來正丁醇(chun)價(jia)(jia)格連續走跌,6月(yue)跌勢依舊明顯,近一(yi)個(ge)月(yue)來正丁醇(chun)價(jia)(jia)格累計下跌超1500元(yuan)/噸,預計下周價(jia)(jia)格仍延續跌勢。 近期大宗漲跌情(qing)況









