俄烏戰(zhan)事(shi)持續(xu),以巴沖突升級,世界能源(yuan)危機再響(xiang),各國貿易緊張升級,新(xin)一輪貿易戰(zhan)即將打響(xiang)?
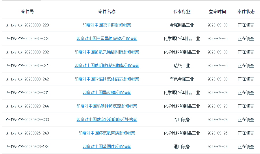
據中國貿易救濟信息網顯示,鄰國印度在十天時間內對我國發起14項反傾銷,其中6項涉及化學原料和制品工業,2非金屬制品工業、2項金屬制品工業、1項(xiang)造紙工業、1項(xiang)有色金屬工業、1項專用設備、1項通用設備。化工行業(ye)成為印度(du)對華反傾銷的“重(zhong)災(zai)區”。


*來源:中國(guo)貿易救濟信息網
近6起針對中國化工行業的反傾銷案件,主要涉及聚氯乙烯糊樹脂(PVC糊樹脂)、三氯異氰尿酸、異丙醇、熱塑性聚氨酯(TPU)、環氧氯丙烷、硫化黑這6類化工產品。
?聚氯乙烯(xi)糊樹脂(zhi)(PVC糊樹脂(zhi))
PVC糊樹脂用途廣泛,適用于人造革、地板革、手套、玩具、汽車等行業,近年來全球PVC糊樹脂發展迅速,我國是PVC糊樹脂的生產大國,位居世界第三。2023年上半年PVC糊樹脂出口量保持良好,6月起新疆天業、唐山三友等大廠接連檢修,PVC糊樹脂市場走勢一路看好,主流價(jia)格在8500-8800元/噸。

來源:海關總(zong)署,隆眾資訊
?三氯(lv)異(yi)氰尿酸(suan)
三氯異(yi)(yi)氰(qing)尿酸是一種高效的(de)消毒(du)漂白劑,儲(chu)存(cun)穩定,使用方便、安(an)全,廣泛用于食品加工(gong)、飲用水(shui)消毒(du),養蠶業和水(shui)稻種子的(de)消毒(du)。二季(ji)度三氯異(yi)(yi)氰(qing)尿酸出口量為40304噸,整體出口維(wei)穩。
?異丙醇
2023上(shang)半年中國(guo)異丙醇出口量累計(ji)在(zai)73149.57噸,同比(bi)-18.11%。從(cong)產銷國數(shu)據看(kan),印度、印度尼西(xi)亞(ya)、泰國為(wei)(wei)2023上半年(nian)中(zhong)國異丙醇出口(kou)(kou)前(qian)三甲目的地,其(qi)中(zhong)印度為(wei)(wei)中(zhong)國出口(kou)(kou)首(shou)位(wei),但主因印度對中國實施以配額形式的保障措施,出口(kou)量同比去年-46.78%。

來源:海(hai)關(guan)總署,隆(long)眾資訊(xun)
?環氧氯丙烷
截(jie)止2023年8月份,中國環氧氯丙(bing)烷出(chu)口總量合計在27.07萬(wan)噸,同比去年同期跌24.78%。國內貨源價(jia)(jia)低,出口具有較大價(jia)(jia)格優勢,主要(yao)出口韓國、泰國等東南亞國家,占比77%。但近期市場漲跌兩難,行情處于低位,預計后市停車裝(zhuang)置(zhi)陸續恢復(fu),及四(si)季度有新(xin)裝(zhuang)置(zhi)計劃投料,環氧氯丙烷有下行(xing)趨勢。


來源:海(hai)關總署,隆(long)眾資訊
?熱塑性(xing)聚(ju)氨酯(TPU)
值得關注的是,申請對原產于或進口自中國的熱塑性聚氨酯啟動反傾銷的發起者居然是科思創(印度)公司。科思創(印度)以中國與印度生產的貨物完全相同,且技術規格、質量、功能和用途方面無一直插,且科思創(印度)是印度唯一的TPU生產商,占印度生產量100%為由,提交申請。

*來源(yuan):中國(guo)貿易救濟信(xin)息網(wang)
世界貿易組織數據顯示,中國已連(lian)續23年(nian)成為全球(qiu)遭遇反(fan)傾銷調查最(zui)多的國家,連(lian)續12年(nian)成為全球(qiu)遭遇反(fan)補貼調查最(zui)多的國家。1995年至今,印度(du)、美(mei)國(guo)(guo)、歐(ou)盟分別對(dui)華發起(qi)298起(qi),189起(qi),155起(qi)反傾(qing)銷(xiao)(xiao)案(an)。中國(guo)(guo)目前被(bei)譽為(wei)世(shi)界工廠,每年均出(chu)口大量產品、原料,在反傾(qing)銷(xiao)(xiao)的限制下,出(chu)口量將減(jian)少,國(guo)(guo)內的化工生產也將“被(bei)迫”縮減(jian)。
此外,巴斯夫、科思創等巨頭紛紛在華建廠,而國內大部分化工企業依舊存在技術開(kai)發能力(li)薄弱、生(sheng)產(chan)分(fen)散(san)、自動化水平(ping)低、規模生(sheng)產(chan)能力(li)不足的情況,缺乏核心競爭力,國內化工企業的生(sheng)存再面難關。
轉載自(zi):化工好料(liao)到
來(lai)源:廣州化工(gong)交易中(zhong)心(xin)






